Магнитный захват АМЗ.01.01
Магнитный захват АМЗ предназначен для подъема, опускания и транспортирования ферромагнитных материалов (проката черных металлов) подвешенного на крюк крана.
Магнитный захват является – съемным грузозахватным приспособлением к которому предъявляются требования «Правил безопасной эксплуатации грузоподъемных кранов ДНАП 0.00-1.03-02». Магнитные и электромагнитные захваты являются оборудованием для механизации погрузочно-разгрузочных работ на металлургических заводах, металлобазах, на машиностроительных производствах, при изготовлении металлоконструкций, при раскрое металла и при разгрузке проката на железнонодорожном, автомобильном транспорте и в портах. Применение захватов металла повышает производительность погрузочных операций и ускоряет время погрузки в безопасном для стропальщика режиме, так что вероятность несчастных случаев сводится к минимуму. Для обслуживания грузоподъемного магнита достаточно, в большинстве случаев, лишь одного оператора, а в некоторых случаях только машиниста крана, даже при работе с очень большими грузами.
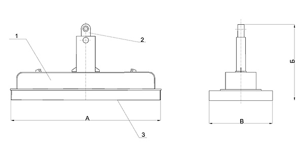
Ощий вид АМЗ.01

1. Корпус, 2. Механизм управления, 3. Магнитная система.
Основные технические характеристики АМЗ.01.01
| Наименование параметра | Значение |
|---|---|
|
Габаритные размеры, мм, не больше |
1240 630 325 |
|
Коэффициент запаса грузоподъемности, не менее |
3 |
|
Грузоподъемность*, Т |
1 |
|
Минимальний размер поднимаемого груза, мм, не менее |
1300х340 |
|
Максимальный размер поднимаемого груза, мм, не более |
2500х2500 |
|
Скорость подъема груза , м/мин |
8 |
|
Скорость перемещения груза,м/мин, (угол наклона груза по горизонтали, не более 6град) |
20 |
|
Маса захвата, кг, не более |
180 |
*грузоподъемность при удержании листового металопроката, в т.ч. полосы. Для удержания металопроката в форме круга, трубы, квадрата, шестигранника и т.п. грузоподъемность АМЗ составляет 30 % от указанной в таблице.

Приспособления грузозахватные на постоянных магнитах Автоматические магнитные гахваты АМЗ отвечают требованиям ДСТУ prEN 13155, НПАОП 0.00-1.01 (далее Правил), ТУ У 28-30378595-001:2013 и комплекту конструкторской документации АМЗ.01.00.00, АМЗ.02.00.00, АМЗ.03.00.00.


.jpg)



.png)